লিটাই মেশিনারি
Jul 22 2022
LITAI MACHINERY
একটি স্বয়ংক্রিয় প্লাস্টিক কাপ থার্মোফর্মিং মেশিন কী ? আচ্ছা, এই প্রশ্নটি এই শিল্পে নতুন যারা আছেন তাদের সকলেরই মনে হবে। সহজভাবে বলতে গেলে, এটি প্লাস্টিকের কাপ তৈরির একটি মেশিন। তবে আমাদের আরও কিছু প্রশ্নের সম্মুখীন হতে হতে পারে। এই প্রবন্ধে, লিটাই, স্বয়ংক্রিয় প্লাস্টিক কাপ থার্মোফর্মিং মেশিন সরবরাহকারী , স্বয়ংক্রিয় প্লাস্টিক কাপ থার্মোফর্মিং মেশিনের প্রশ্নগুলির উপর আলোকপাত করবে, যার লক্ষ্য হল আপনাকে এই মেশিনটি স্পষ্টভাবে বুঝতে সক্ষম করা। এছাড়াও, এই প্রবন্ধের শেষে লিটাইয়ের স্বয়ংক্রিয় প্লাস্টিক কাপ থার্মোফর্মিং মেশিন চালু করা হবে, এই মেশিনটির সাথে পরিচিত হতে আপনি এখানে ক্লিক করে সংশ্লিষ্ট পণ্য পৃষ্ঠায় যেতে পারেন। আপনি যদি শিপিং এবং বিক্রয়োত্তর পরিষেবার বিশদ সম্পর্কে আরও জানতে চান, তাহলে সরাসরি আমাদের সাথে যোগাযোগ করতে স্বাগত।
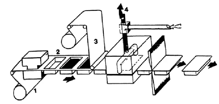
স্বয়ংক্রিয় প্লাস্টিক কাপ থার্মোফর্মিং মেশিন (যা ফ্ল্যাট ভলকানাইজিং মেশিন, রাবার ভলকানাইজিং মেশিন, ছোট ট্যাবলেট প্রেস, স্বয়ংক্রিয় ট্যাবলেট প্রেস নামেও পরিচিত) হল এক ধরণের ছাঁচনির্মাণ মেশিন, যা রাবার এবং প্লাস্টিক শিল্প যেমন পিভিসি, মাস্টারব্যাচ এবং অন্যান্য রাসায়নিক কাঁচামালের পলিমারের জন্য উপযুক্ত। কারখানায় ব্যাপক উৎপাদনের আগে এটি ব্যাচিংয়ের ভিত্তি হিসাবে ব্যবহার করা যেতে পারে। প্লাস্টিক বা রাবারের কাঁচামাল ছাঁচে স্থাপন করা হয়, উপরের এবং নীচের বৈদ্যুতিক গরম প্লেটের মধ্যে স্যান্ডউইচ করা হয় এবং কাঁচামালের আকৃতি তৈরি করার জন্য বৈদ্যুতিক গরম প্লেটের বুদ্ধিমান ধ্রুবক তাপমাত্রার অধীনে চাপ প্রয়োগ করা হয়।

প্লাস্টিকের ওয়াটার কাপের জন্য সাধারণত ব্যবহৃত উপকরণ হল স্পেস গ্লাস এবং এএস প্লাস্টিক। স্পেস গ্লাস, যা পিসি ইঞ্জিনিয়ারিং প্লাস্টিক নামেও পরিচিত, বিশ্বজুড়ে একটি বহুল ব্যবহৃত উপাদান এবং এর প্রধান উপাদান হল পলিকার্বোনেট। হালকা এবং টেকসই, এই উপাদানটিতে চমৎকার অন্তরণ, প্রসারণ, মাত্রিক স্থিতিশীলতা, রাসায়নিক প্রতিরোধ এবং উচ্চ শক্তি, তাপ এবং ঠান্ডা প্রতিরোধ ক্ষমতা রয়েছে। এর স্ব-নির্বাপণ, শিখা প্রতিরোধী, অ-বিষাক্ত এবং রঙিন সুবিধাও রয়েছে। অসুবিধা হল ধাতুর তুলনায় এর কঠোরতা অপর্যাপ্ত, যা এর চেহারা আঁচড়ানো সহজ করে তোলে।
AS প্লাস্টিক হল অ্যাক্রিলোনাইট্রাইল (A) এবং স্টাইরিন (S) এর একটি কোপলিমার। এর মাঝারি আবহাওয়া প্রতিরোধ ক্ষমতা রয়েছে এবং উচ্চ আর্দ্রতা পরিবেশ দ্বারা প্রভাবিত হয় না। এটি সাধারণ গ্রীস, ডিটারজেন্ট এবং হালকা অ্যালকোহলের বিরুদ্ধে প্রতিরোধী। এর ক্লান্তি প্রতিরোধ ক্ষমতা কম এবং এটি সহজেই ফেটে যায় না। অভ্যন্তরীণ চাপের কারণে এটি ফাটল ধরে এবং উপাদানটির স্বচ্ছতা উচ্চ। এটি প্রায়শই প্লাস্টিক পণ্য যেমন ট্রে, জলের কাপ, টেবিলওয়্যার, টুথব্রাশ, যন্ত্রের আয়না এবং প্যাকেজিং বাক্স তৈরিতে ব্যবহৃত হয়।
স্বয়ংক্রিয় প্লাস্টিক কাপ থার্মোফর্মিং মেশিনের ইনজেকশন ছাঁচনির্মাণে প্লাস্টিকের থার্মোফিজিক্যাল বৈশিষ্ট্য ব্যবহার করে হপার থেকে ব্যারেলে উপাদান যোগ করা হয়, যা ব্যারেলের বাইরে একটি হিটিং রিং দ্বারা উত্তপ্ত হয়ে উপাদানটি গলে যায়। স্ক্রু শিয়ারিংয়ের দ্বৈত ক্রিয়া অনুসারে উপাদানটি ধীরে ধীরে প্লাস্টিকাইজড, গলিত এবং একজাত করা হয়। যখন স্ক্রুটি ঘোরানো হয়, তখন উপাদানটি পতিত খাঁজের ঘর্ষণ বল এবং শিয়ারিং বলের ক্রিয়া অনুসারে গলিত উপাদানটিকে স্ক্রুর মাথায় ঠেলে দেয়।
একই সময়ে, উপাদানের প্রতিক্রিয়ার অধীনে স্ক্রুটি পিছিয়ে যায়, যার ফলে স্ক্রুর মাথাটি একটি স্টোরেজ স্পেস তৈরি করে এবং প্লাস্টিকাইজেশন প্রক্রিয়া সম্পন্ন করে। তারপর, ইনজেকশন সিলিন্ডার পিস্টনের ক্রিয়ায়, স্ক্রুটি উচ্চ গতি এবং উচ্চ চাপে নোজেলের মাধ্যমে স্টোরেজ চেম্বারে গলিত উপাদানটি ইনজেক্ট করে। ছাঁচের গহ্বরে, গহ্বরের গলিত উপাদানটি চাপ-রক্ষণাবেক্ষণ, ঠান্ডা, শক্ত এবং আকৃতি দেওয়ার পরে, ছাঁচটি ক্ল্যাম্পিং প্রক্রিয়ার ক্রিয়ায় ছাঁচটি খুলে দেয় এবং আকৃতির পণ্যটি ইজেক্টর ডিভাইসের মাধ্যমে ছাঁচ থেকে বের করে দেওয়া হয়।

এই প্রবন্ধের এখানেই সমাপ্তি, আরও প্রশ্ন এবং সংশ্লিষ্ট উত্তর পরবর্তী প্রবন্ধে তালিকাভুক্ত করা হবে।
টিটিএফ সিরিজের পূর্ণ-স্বয়ংক্রিয় থার্মোফর্মিং মেশিনটি আমাদের সর্বশেষ উন্নত মূল পণ্য। স্বয়ংক্রিয় প্লাস্টিক কাপ থার্মোফর্মিং মেশিনটি গঠন, পাঞ্চিং, কাটা এবং স্ট্যাকিং প্রক্রিয়াকে একত্রিত করে। বহুল ব্যবহৃত এবং অনুরোধকৃত বেশিরভাগ গ্রাহকের জন্য উপযুক্ত, এটি প্লাস্টিকের ট্রে, পাত্র, বাক্স, ঢাকনা ইত্যাদি তৈরি করতে পারে। মেশিনটি সম্পূর্ণরূপে সার্ভো মোটর দ্বারা চালিত। স্থিতিশীল অপারেশন, কম শব্দ, উচ্চ দক্ষতা, উচ্চ মানের।

SIEMENS (জার্মানি) এর ইন্ডাস্ট্রিয়াল ম্যানুয়াল ইন্টারফেস এবং PLC উচ্চ মাত্রার অটোমেশন, সঠিক নিয়ন্ত্রণ এবং সুবিধাজনক অপারেশন করে। ডকুমেন্ট স্টোরেজ ফাংশন অপারেশনাল প্রক্রিয়াগুলিকে সহজ করে তোলে।
ওয়ার্কিং স্টেশনগুলি স্থিতিশীল চারটি গাইডিং-পিলার (GCr15 স্টিল, বাইরে হার্ড ক্রোম প্লেটেড) কাঠামো দ্বারা চালিত। পরিধান প্রতিরোধী, এবং সরঞ্জামের আয়ু বাড়ান।
YASKAWA (জাপান) এর স্ট্রেচিং সার্ভোমোটর উপরের এবং নীচের ডাইয়ের গতি নিয়ন্ত্রণ করে, এটি অভিন্ন শক্তি বজায় রাখতে পারে যাতে প্রতিটি কাপের নীচের পুরুত্ব সমান হয়। এবং ser
হাইড্রোলিক চালিত সিস্টেম পর্যাপ্ত চলাচলের গতি এবং জোরালোভাবে পাঞ্চিং শক্তি প্রদান করতে পারে।
পুরো অংশটি হাইড্রোলিক সিস্টেম দ্বারা চালিত, যা নির্ভরযোগ্য এবং স্থিতিশীল। রকওয়েল (মার্কিন যুক্তরাষ্ট্র) এর প্রক্সিমিটি সুইচ ব্যবহার করলে ছাঁচের অবস্থান নির্ধারণের ক্ষেত্রে চমৎকার নির্ভুলতা পাওয়া যায়।
হিটারটিতে ভ্যাকুয়াম ইনসুলেশন তুলা যুক্ত করা হয়েছে, যা দ্রুত প্রতিক্রিয়া হার, স্বল্প প্রক্রিয়াকরণ সময় এবং শক্তি সাশ্রয় দেখায়।
শার্প চেইনে 65#Mn ব্যবহার করা হয়, যার শক্তি 45# স্টিলের তুলনায় বেশি, তাপ প্রতিরোধ ক্ষমতা ভালো এবং স্থিতিস্থাপকতা বেশি।
বৈদ্যুতিক লুব্রিকেটিং তেল পাম্প স্বয়ংক্রিয়ভাবে কম্পিউটারের নিয়ন্ত্রণের মাধ্যমে নিয়মিত এবং পরিমাণগতভাবে লুব্রিকেটিং তেল ইনজেক্ট করতে পারে, যা ঘূর্ণনকে সহজ করে তুলতে পারে
শিট ফিডিং সার্ভো মোটর জাপানে তৈরি YASKAWA ব্র্যান্ড গ্রহণ করে, রেটেড পাওয়ার 3Kw, খাওয়ানোর প্রক্রিয়ায় স্থিতিশীল অপারেশন নিশ্চিত করে।
LITAI MACHINERY CO, LTD ২০০১ সালে প্রতিষ্ঠিত। ২০ বছরেরও বেশি সময় ধরে, আমাদের এন্টারপ্রাইজ লক্ষ্য হল স্বয়ংক্রিয় প্লাস্টিক প্যাকেজিং মেশিন তৈরি করা। আমরা চার/তিন-স্টেশন থার্মোফর্মিং মেশিন, প্লাস্টিক কাপ থার্মোফর্মিং মেশিন, BOPS প্লাস্টিক থার্মোফর্মিং মেশিন, মিউটি-আয়ার PP/PS/PET শিট এক্সট্রুডার, ছাঁচ ইত্যাদি গবেষণা, উন্নয়ন, উৎপাদন এবং বিপণনের উপর মনোনিবেশ করি। আমরা দেশীয়ভাবে প্রথম প্রস্তুতকারক যারা থার্মোফর্মিং, পাঞ্চিং, কাটিং, স্ট্যাকিং, ট্রান্সমিটিং, কাউন্টিং এবং স্বয়ংক্রিয়ভাবে প্যাকিংয়ের মাধ্যমে এক লাইনে প্লাস্টিক কাপ তৈরি করি।

প্লাস্টিক থার্মোফর্মিং মেশিনের কার্যকরী প্রক্রিয়া
প্লাস্টিক ছাঁচনির্মাণ মেশিন প্রক্রিয়াকরণ সরঞ্জামের প্রকারভেদ